5.2 Pulse RCU 电池安装

关于遥控器电池
备注: 根据更新后的发货规定,包装中不再包含电池。用户自行负责购买正确的电池。

在遥控器中使用两节 AA 大小(碱性)电池。

在使用 Pulse RCU 之前,请先安装电池。

小心: 请用正确型号的电池进行更换。使用两节 AA 电池。如果更换的电池型号不当,会有爆炸的危险。
需要使用部件

AA 大小碱性电池(两节)

如何安装
  1. 用指甲稍微向后推一下电池盖卡舌(参考 1),同时将盖板向外翻转(参考 2)。

    图像 5–2
  2. 将两节 AA 大小电池插入电池舱中。

    确保电池的极性与电池舱内的 + 和 - 标记相匹配。

    小心: 按照说明放置电池。如果电池安装不正确,则存在爆炸的危险。
    图像 5–3
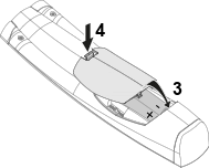
  3. 将电池盖的两个下部卡舌插入遥控器底部的缝隙中(参考 3)。
  4. 按住盖板顶部直到卡入到位(参考 4)。

    图像 5–4
    图像 5–5
备注: 更换电池时,RCU 的广播地址将重置为默认值 “0”。